|
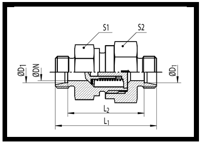
Rückschlagventil 38 S
Type: ...-RHD 38 S ...bar OMD
Leitungsbauweise; schwere Reihe
Anschlussgröße: 38 S Rohranschluss (Außengewinde mit 24° Innenkonus)
PN = 250 bar Stahl verzinkt / 250 bar Edelstahl
Federöffnungsdruck: p: wählbar
bei Q = 190 l/min delta p = 1 bar + Federöffnungsdruck
Durchflussrichtung mit Pfeil auf Sechskant gekennzeichnet
Gehäusematerial: wählbar
Mehr- oder Minderpreis wird als Gesamtpreis dargestellt
Standardvarianten:
Rückschlagventil 38 S; Type: CF-RHD 38 S OMD
Zubehör:
Schneidring DPR 38 S; Type: CF-DPR38S
Schneidring DPR 38 S; Type: C-DPR38S
Überwurfmutter 38 S; Type: CF-M38S
Überwurfmutter 38 S; Type: C-M38S
|