|
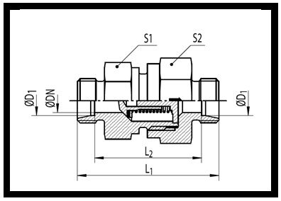
Rückschlagventil 14 S
Type: CF-RHD 14 S OMD
Leitungsbauweise; schwere Reihe
Anschlussgröße: 14 S Rohranschluss (Außengewinde mit 24° Innenkonus)
PN = 400 bar
Federöffnungsdruck: p = 1 bar
bei Q = 17,5 l/min delta p = 1 bar + Federöffnungsdruck
Durchflussrichtung mit Pfeil auf Sechskant gekennzeichnet
Gehäusematerial: Stahl verzinkt
Auswahl von Varianten
Zubehör:
Schneidring DPR 14 S; Type: CF-DPR14S
Überwurfmutter 14 S; Type: CF-M14S
|