|
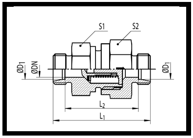
Rückschlagventil 12 L
Type: CF-RHD 12 L OMD
Leitungsbauweise; leichte Reihe
Anschlussgröße: 12 L Rohranschluss (Außengewinde mit 24° Innenkonus)
PN = 400 bar
Federöffnungsdruck: p = 1 bar
bei Q = 17,5 l/min delta p = 1 bar + Federöffnungsdruck
Durchflussrichtung mit Pfeil auf Sechskant gekennzeichnet
Gehäusematerial: Stahl verzinkt
Auswahl von Varianten
Zubehör:
Schneidring DPR 12 L/S; Type: CF-DPR12L/S
Überwurfmutter 12 L; Type: CF-M12L

|