|
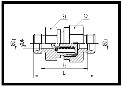
Rückschlagventil 10 S
Type: CF-RHD 10 S OMD
Leitungsbauweise; leichte Reihe
Anschlussgröße: 10 S Rohranschluss (Außengewinde mit 24° Innenkonus)
PN = 400 bar
Federöffnungsdruck: p = 1 bar
bei Q = 6 l/min delta p = 1 bar + Federöffnungsdruck
Durchflussrichtung mit Pfeil auf Sechskant gekennzeichnet
Gehäusematerial: Stahl verzinkt
Auswahl von Varianten
Zubehör:
Schneidring DPR 10 L/S; Type: CF-DPR10L/S
Überwurfmutter 10 S; Type: CF-M10S
|