|
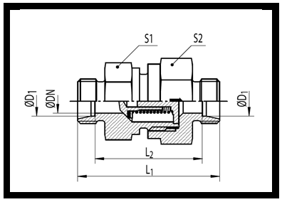
Rückschlagventil 08 S
Type: CF-RHD 08 S OMD
Leitungsbauweise; schwere Reihe
Anschlussgröße: 08 S Rohranschluss (Außengewinde mit 24° Innenkonus)
PN = 400 bar Stahl verzinkt
Federöffnungsdruck: p = 1 bar
bei Q = 3 l/min delta p = 1 bar + Federöffnungsdruck
Durchflussrichtung mit Pfeil auf Sechskant gekennzeichnet
Gehäusematerial: Stahl verzinkt
Auswahl von Varianten
Zubehör:
Schneidring DPR 08 L/S; Type: CF-DPR08L/S
Überwurfmutter 08 L; Type: CF-M08L
|