Rückschlagventil 16 S
Type: ...-RHD 16 S ...bar OMD
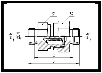
Leitungsbauweise; schwere Reihe
Anschlussgröße: 16 S Rohranschluss (Außengewinde mit 24° Innenkonus)
PN = 400 bar Stahl verzinkt / 315 bar Edelstahl
Federöffnungsdruck: p: wählbar
bei Q = 25 l/min delta p = 1 bar + Federöffnungsdruck
Durchflussrichtung mit Pfeil auf Sechskant gekennzeichnet
Gehäusematerial: wählbar
Mehr- oder Minderpreis wird als Gesamtpreis dargestellt
Standardvarianten:
Rückschlagventil 16 S; Type: CF-RHD 16 S OMD
Zubehör:
Schneidring DPR 16 S; Type: CF-DPR16S
Schneidring DPR 16 S; Type: C-DPR16S
Überwurfmutter 16 S; Type: CF-M16S
Überwurfmutter 16 S; Type: C-M16S
|